본문

글쓰기   목록 | 이전글 | 다음글

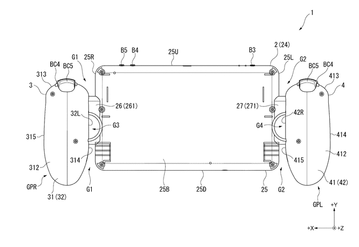
[정보] 소니 휴대용 게임기와 유사한 특허 공개. [85]


profile_image


(1713657)
7 | 85 | 26829 | 비추력 522
프로필 열기/닫기
마지막 수정 시간: 17.02.17 18:39
글쓰기
|
목록 | 이전글 | 다음글

댓글 | 85
1
 댓글


(IP보기클릭)110.70.***.***

BEST
공개일이 이번년도일뿐 출원일은 15년도내요.... 딱히 뭔가 나온다는 보장은 없...
17.02.17 18:49

(IP보기클릭)221.146.***.***

BEST
리모트 전용기기 느낌이 나는데...;;
17.02.17 18:40

(IP보기클릭)122.37.***.***

BEST
ps switch?
17.02.17 18:40

(IP보기클릭)110.47.***.***

BEST
양쪽으로 잡고 힘 조금 주면 똑 뿌러질꺼같이 생긴 디자인이네;
17.02.17 18:40

(IP보기클릭)119.202.***.***

BEST
흠... 이거완전스위치...
17.02.17 18:39

(IP보기클릭)119.202.***.***

BEST
흠... 이거완전스위치...
17.02.17 18:39

(IP보기클릭)122.37.***.***

BEST
쿠마다쿠마
ps switch? | 17.02.17 18:40 | | |

(IP보기클릭)100.43.***.***

스퀘어 점보
PS Click | 17.02.17 22:42 | | |

(IP보기클릭)223.33.***.***

어?? 비타 후속기??
17.02.17 18:39

(IP보기클릭)113.10.***.***

UNICORN UC
어? 휴대기로 페르소나5 확장판이? | 17.02.17 18:40 | | |

(IP보기클릭)218.236.***.***

UNICORN UC
더는 안속아요 ㅜ아마도 엑스페리아 태블릿용도 리모트기기겠지요 | 17.02.18 09:18 | | |

(IP보기클릭)175.119.***.***

스마트폰용 같다..
17.02.17 18:39

(IP보기클릭)61.82.***.***

소니가 또..
17.02.17 18:40

(IP보기클릭)221.146.***.***

BEST
리모트 전용기기 느낌이 나는데...;;
17.02.17 18:40

(IP보기클릭)211.32.***.***

hide™
그럴 확률이 높아보이네요. 비타후속기기로 생각하기엔 디자인도 그렇고, 버튼배치가 딱 리모트 | 17.02.17 19:03 | | |

(IP보기클릭)110.47.***.***

BEST
양쪽으로 잡고 힘 조금 주면 똑 뿌러질꺼같이 생긴 디자인이네;
17.02.17 18:40

(IP보기클릭)121.147.***.***

디자인이 많이 독특한데...스위치처럼 붙였다 뗏다 할수는 없는 것 같긴 한데
17.02.17 18:40

(IP보기클릭)211.36.***.***

유니짱 부활 좀
17.02.17 18:41

(IP보기클릭)116.124.***.***

Rapezziauto
저도 공감합니다!! 닌텐에서 롬, 람과 블랑으로 액시즈를 해서 좋은 기기를 만들지만 중요헌 것은 한닌의 문제인데 소니가 유니를 부활시켰으면 하는 바램입니다!! | 17.02.17 19:18 | | |

(IP보기클릭)211.115.***.***

리모트 전용 듀쇽..?
17.02.17 18:41

(IP보기클릭)122.37.***.***

이왕만들거면 이번엔 제대로 만들어줫으면
17.02.17 18:41

(IP보기클릭)223.62.***.***

소니 스위치.. 닌텐도 스위치.. 이제 마소 스위치만 나오면되나..
17.02.17 18:41

(IP보기클릭)110.35.***.***

디자인이 너무 별로당..
17.02.17 18:42

(IP보기클릭)110.35.***.***

얘네꺼도 분리되는 건가?
17.02.17 18:43

(IP보기클릭)223.62.***.***

아 계획은 있는거군요 ㅠㅠ 나오면 필구할께여
17.02.17 18:43

(IP보기클릭)39.7.***.***

행복회로 풀가동을 승인한다 ! 나와줘 ㅜㅜ
17.02.17 18:44

(IP보기클릭)119.202.***.***

디자인이야 어차피 바뀌기 마련이고... 닌텐도땐 타원형 게임화면+컨트롤러도 있었죠
17.02.17 18:44

(IP보기클릭)112.169.***.***

아예 떠난 줄 알았는데 이건 뭐지?
17.02.17 18:44

(IP보기클릭)27.1.***.***

애초에 스위치 이전에 탈착식 패드 달린 중국산 게이밍 테블릿이 있었죠.
17.02.17 18:45

(IP보기클릭)110.70.***.***

레지옹 도뇌르
그거 nx시절에 루머도는 거 보고 만든거임. | 17.02.17 22:27 | | |

(IP보기클릭)175.223.***.***

소니으 마지막 포터블 게임기는 비타가 아니었던건가!
17.02.17 18:45

(IP보기클릭)223.62.***.***

더 디비전
시장이 존재하니까 아예 포기해버리는건 아닌듯 합니다 | 17.02.17 18:49 | | |

(IP보기클릭)14.45.***.***

리모트 전용이 아닐까..
17.02.17 18:45

(IP보기클릭)222.108.***.***

엑패8인치 짜리를 스위치처럼 끼우는 건가?
17.02.17 18:45

(IP보기클릭)61.84.***.***

vvip회원.
그럴지도 모르죠.. 게임기가 아니라 태블릿 주변기기 일지도요. | 17.02.17 18:46 | | |
파워링크 광고

(IP보기클릭)222.106.***.***

PSwitch
17.02.17 18:45

(IP보기클릭)223.62.***.***

비타처럼 관리할 거면 하지를 마
17.02.17 18:46

(IP보기클릭)58.143.***.***

소니놈들 희망고문
17.02.17 18:46

(IP보기클릭)125.134.***.***

비타 버려서 휴대용 게임기 철수한 줄 알았더니 엥?
17.02.17 18:46

(IP보기클릭)110.70.***.***

소니가 이런 병맛스러운 디자인을?
17.02.17 18:46

(IP보기클릭)116.46.***.***

어리둥절.
17.02.17 18:47

(IP보기클릭)175.223.***.***

비타 3000번대가 안나와서 휴대기 버렸나 했더니 그건 아닌가
17.02.17 18:48

(IP보기클릭)39.7.***.***

컨트롤 부분 붙였다 때는건 스위치가 최초도 아니고 본문 특허 내용도 2015년
17.02.17 18:48

(IP보기클릭)221.150.***.***

끔찍한 혼종의 느낌
17.02.17 18:49

(IP보기클릭)110.70.***.***

BEST
공개일이 이번년도일뿐 출원일은 15년도내요.... 딱히 뭔가 나온다는 보장은 없...
17.02.17 18:49

(IP보기클릭)39.7.***.***

암흑이군
출원을 하고 개발을 시작하니까 시기는 그렇게 오래된게 아니에요 오히려 2015년이면 이미 비타는 접는 수순이었던 때라 그때 출원했다는게 더 고무적인데요 | 17.02.17 19:01 | | |

(IP보기클릭)175.223.***.***

연사시
출원일 후 18개월 뒤에 공개되지요. 근데 반대로 말하면 아예 비타를 버리고 완전 신형이 나올수도 있고, 아니면 말 그대로 ㄹ모트 전용 기기가 나올수도 있겠죠 근데 말 그대로 특허 신청만 하고 개발 안하는 경우도 많으니 속단하긴 있다고 생각합니다 | 17.02.17 20:48 | | |

(IP보기클릭)1.238.***.***

연사시
그렇다면 지난해 비타신형이 나올거라 기대를 모았을적에 오다 부사장이 드릴 정보가 없었다라고 한게 들어맞는군요 | 17.02.17 21:55 | | |

(IP보기클릭)49.143.***.***

엑스페리아를 휴대기로 써먹으면 좋을텐데...
17.02.17 18:50

(IP보기클릭)61.84.***.***

태블릿 악세서리로 나온다고 해도 리모트 완벽하게 지원하면 괜찮을듯 싶네요.
17.02.17 18:50

(IP보기클릭)39.7.***.***

내구성이 전혀 없어보인다... ㄷㄷ 폴더 스타일로 내주지 ㅜ 액정만 땠다 붙혓다 할수 있게
17.02.17 18:52

(IP보기클릭)223.62.***.***

플스위치?
17.02.17 18:55

(IP보기클릭)14.55.***.***

저거슨 ps4급 휴대용머신 기술의 소니가 스위를 놔둘리 없지
17.02.17 18:56

(IP보기클릭)210.99.***.***

쎄크스
?? 뭔말인지 | 17.02.18 18:50 | | |

(IP보기클릭)116.124.***.***

저게 만약 비타 후속기와 같은 것이고 비타 하위호환 그리고 하이브리드면 저는 필수적으로 구입합니다!! 특히 소니는 한국 정식발매을 잘해주기에 정식발매되자마자 구입합니다!!
17.02.17 18:56

(IP보기클릭)39.7.***.***

2015년에 출원했으면 대략 시기가 맞는데 올해나 내년에 뭐 하나 나올려나요.
17.02.17 18:59

(IP보기클릭)118.38.***.***

소니폰에다가 비타겜만 돌아가도 좋을꺼같은데...
17.02.17 19:00

(IP보기클릭)121.149.***.***

리모트+PSNOW 전용기? 나오면 산다~ 내줘~
17.02.17 19:04

(IP보기클릭)116.39.***.***

은근히 소니가 휴대기용 특허출원을 많이 하고 있죠. 기대해봐도 좋을듯 싶습니다.
17.02.17 19:07

(IP보기클릭)124.50.***.***

근데 붙잡고 갈만한 게 다 떨어져서... 소니가 밀어주기나 해줄까...
17.02.17 19:08

(IP보기클릭)1.253.***.***

폰 같은거에 붙일삘인데..
17.02.17 19:12

(IP보기클릭)183.102.***.***

만들고 또 관리 개판으로 하려나...?
17.02.17 19:13

(IP보기클릭)211.216.***.***

소니 : ㅎㅎㅎㅎㅎ 다들 신났군
17.02.17 19:37

(IP보기클릭)218.152.***.***

이게 뭐니;;
17.02.17 20:12

(IP보기클릭)121.130.***.***

저런걸 낸 사실 조차 소니는 모를지도....... 소니 : 언제 저런걸 만들었지?
17.02.17 20:16
파워링크 광고

(IP보기클릭)221.139.***.***

예전이었으면 흥분했을텐데... 전에 맞은 포찬발 통수가 너무 거했네요..
17.02.17 20:34

(IP보기클릭)175.223.***.***

휴대용 게임기 특허가 아니라 조작장치 특허임. 아마도 위유패드 비슷하게 따라한 주변기기가 아닌가 싶은데.
17.02.17 20:39

(IP보기클릭)220.84.***.***

패키지 꼽는 구멍은 안 보이는데..ㅠㅠ
17.02.17 20:47

(IP보기클릭)1.236.***.***

어째 저거 Vita TV를 휴대용으로 변환시킨다고 서드파티에서 나왔던 키트가 생각나는데;
17.02.17 20:52

(IP보기클릭)118.222.***.***

리모트 전용 기기의 출시는 없을것 같네요 리모트 플레이 하려면 AP, 통신칩, 자이로센서 등 비타에 달린거 거의 다 달아야 됩니다 가격을 싸게 만들 수가 없는데 비타라도 끼워넣어야 팔리죠
17.02.17 21:03

(IP보기클릭)124.197.***.***

패키지 꼽는 곳이 안보이는 걸로 봐선 psp go처럼 다운로드 전용기기인 것 같아요
17.02.17 21:21

(IP보기클릭)152.179.***.***

정말 나온다면 언제쯤 발표할고 출시할지.... 올해 대놓고 정면승부를 할까요...?
17.02.17 21:21

(IP보기클릭)14.63.***.***

Ps4 휴대용
17.02.17 21:27

(IP보기클릭)124.49.***.***

이래저래 고통받는 비타 유저들...ㅠ
17.02.17 21:42

(IP보기클릭)175.223.***.***

이제는 정말 플포에 모니터를 달고 들고다닐수밖에없엇
17.02.17 22:19

(IP보기클릭)182.224.***.***

소니야 집중하자.....
17.02.17 22:23

(IP보기클릭)39.118.***.***

리모트 기기가 아닐런지
17.02.18 00:21

(IP보기클릭)221.160.***.***

척 보기에는 휴대폰 컨트롤러 같은데 단자 구멍이랑 두께보면 그렇지도 않단 말이야. 그렇다고 후속 휴대기로 보기에는 생김새가 너무 괴랄하고...
17.02.18 02:27

(IP보기클릭)211.218.***.***

좀 예전에 Razer에서 나온 Razer Edge같은 느낌이 들긴 하는데요
17.02.18 04:48

(IP보기클릭)39.7.***.***

스위치 짭
17.02.18 10:47

(IP보기클릭)112.168.***.***

뭐 나오면 좋은거고
17.02.18 12:47

(IP보기클릭)175.193.***.***

720p 지원하고 페르소나 5 나오면 바로 지름...
17.02.18 13:54

(IP보기클릭)210.99.***.***

조작장치 특허니까 그냥 맛폰에 끼워 사용할 가능성이 더 높아 보이네요. 비타 후속기는... 나오면 그냥 기적일거에요.
17.02.18 18:45

(IP보기클릭)49.246.***.***

혼종이다....ㅋㅋㅋㅋㅋ
17.02.18 23:45

(IP보기클릭)59.17.***.***

그냥 스위치 특허 견제용으로 낸게 아닐까요?
17.02.19 10:13

(IP보기클릭)61.73.***.***

리모트 전용되는 기기라면 당장 구입합니다. R2 L2버튼 다달렸고 스틱도 크기보니 R3 L3까지 기대 가능할 정도인데 저대로 나온다면 비타 후속기건 말건 리모트를 안넣을 리도 없고 필구각이네요.
17.02.19 10:52

(IP보기클릭)119.205.***.***

그냥 패드같은데요
17.02.19 16:57

(IP보기클릭)125.190.***.***

디자인 졸 극혐
17.02.19 21:34

(IP보기클릭)39.7.***.***

또 따라하네 ㅎㅎㅎ
17.02.20 16:15

(IP보기클릭)211.62.***.***

흐루꾸륵후
근데 15년껀데 스위치는 올해나왔고.. ??? | 17.02.22 23:55 | | |


1
 댓글




목록 | 이전글 | 다음글
X